Construction features

Construction features

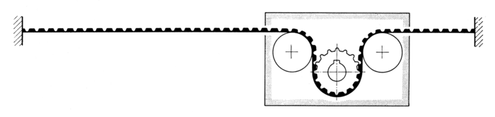
Low friction and low dead weight is to be aspired for all assembly modules assuming part of the movement. Generally, BRECO-AT and ATL TIMING BELTS as open length are to be clamped on the moving linear technology using clamp plates (see clamp plates).
BRECO-AT and ATL TIMING BELTS permit a rotational to linear translation of movement with continous accuracy.

Due to the high pitch accuracy between belt and pulley meshing the load distribution is distributed equally to the tooth faces in mesh on the drive assembly pulley and that produces a high performance and accuracy. The choice of materials for the belt and pulley is especially suitable for bi-directional drives. The distance of travel per pulley revolution is defined with the selection of the pitch and the number of teeth of the drive assembly pulley. For the linear drives are three design versions available.

A dimensionally stable surrounding structure is to consider.